
膠球清洗、凝汽器膠球清洗裝置系統的漏斗型收球網使用說明?凝汽器膠球清洗裝置是燃煤(氣)發電機組主要輔機之一,由于火力(核)疑汽器冷卻管結垢,污物堵塞所引起的汽輪機排汽壓力幾個增加,就會與個MW的輸出能量的損失。
因此提高凝汽器的效率,保證凝汽水回路系統優化運整個機組的熱效率有著不可輕估的作用。凝汽器的換熱效率直接取決于冷凝管的冷凝管的熱阻直接由汽側水膜(占18%),汽側污垢(占8%),管壁(占2%后(占35%),汽側水膜(占5%)五部分組成,為保證冷卻管內壁清潔度的設計賣對冷卻管進行清洗,避免水側水膜和鈣、鎂離子硬質結垢的形成。清洗時,膠球作用下,通過冷卻管,由于膠球是多孔柔軟的彈性體,在進入冷卻管內壁時被擠壓冷卻管內壁有一正圈的接觸,膠球在冷卻管內壁全長上摩擦,從而污物(垢)被求流出冷卻管口后在自身的彈性作用下,突然恢復原狀,膠球外表面的污物(垢)隨循環水一起沖洗,同時膠球隨循環水流入收球網,由收球管導出,被膠球泵吸系統管道,以此重復循環,達到清洗冷卻管內壁的目的。
在已有技術中,由于收球網出現卡球、跑球、積球,收球率偏低(90%),導到不好。小容量的機組還采用傳統的人工清洗的方法,既浪費人力、財力,又大大險致率。
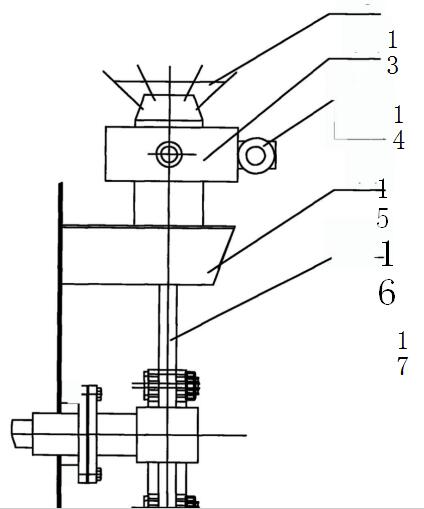
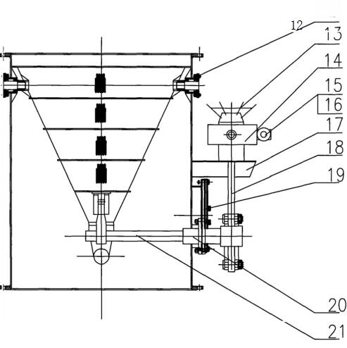
新型的目的在于克服上述不足之處,從而提供一種能通過膠球對凝汽器膠球清洗裝置系統安裝在支架上,支架上方安裝減速機,減速機與電機及智能伺服器連接,減速機上節手輪,推力螺桿與減速機連接。
所述壓差系統由入口壓力表、壓差開關、出口壓力表組成,壓力表、壓差開關表由連接管連接,上下端部連接管焊在筒體上,形成一個回路,將壓差開關信號先柜內PLC控制電路。所述筒體上焊接檢修人孔。
新型與已有技術相比具有以下優點:
1、采用半網三點剛性設計,使設備的剛性大限度的加強,不變形,從而使用壽命大為增加。
2、收球網與導出管接口位于管體中間位置,是水流流速大,利于收瑪膠球的瞬間匯集創造了有利條件。
3、曲面設計使過濾面積大為增加,因此具有較大的通流倍率,其通流倍率0.5。
4、收球網網板采用整體式沖壓網板,和骨架緊密貼焊,成為一個整體,因此無壽命、剛性、穩定性方面均具有極大的競爭優勢。
5、膠球清洗裝置網板采用不銹鋼材料,使收球網整體壽命得以極大提高。
6、采用大坡度漏斗式過濾網板,網面光滑不堵球,無死角截留膠球,并且可量是高膠球的使用壽命。
7、大坡度漏斗式曲面過濾網板保證了網板過流面大,具有很小的壓差,同時,雜物又不容易掛在網板上,從而影響通流倍率。
8、同步可調傳動方式,保證了該設備動作靈活可靠、穩定、安全。
9、46°的開口角,使收球網板的反沖洗面積達到98%,從而保證了所有過濾有效應用,不堵網。
10、運行中收球網前后的壓差通過壓力傳感器發出信號,PLC控制單元對收球中洗。
11、該膠球清洗裝置系統收球網上設計有人孔,可供檢修、觀察用。
原狀,膠球外表面的污物(垢)被清除,并隨循環水一起沖洗,同時膠球隨循環小網,由收球管導出,被膠球泵吸入,并被送回裝球室。再輸入膠球清洗裝置系統管道,以此重復青洗冷卻管內壁的目的。此循環可連續進行。當壓差達到設計值時,收球網網板反沖洗。膠球清洗系統主要技術指標:收球率達到98%以上。